【上海解封最新消息,上海解封时间表】

2022上海解封最新消息:解封时间确定了吗?附最新解封通知

022年上海解封最新消息显示,截至3月16日未发布全面解封通知 ,仅个别小区解封,全面解封时间尚未确定。 具体说明如下:2022年上海解封最新消息截止2022年3月16日,上海市疫情防控办未发布针对此次本土疫情全面解封的官方消息 。小区解封需由当地社区工作人员申请 ,经审核后下发通知。

【上海解封最新消息,上海解封时间表】-第1张图片

关于解封时间的确定性,近来尚无明确日期。上海的解封策略是逐步进行,只有达到相应条件的小区才会被解除封闭 。一般情况下 ,封闭14天后可能会考虑解封,但考虑到疫情动态,全面解封可能要到3月底。

【上海解封最新消息,上海解封时间表】-第2张图片

022年上海解封最新消息显示 ,4月12日金山区首批防范区内枫泾镇佳田苑小区已解封,预计4月底会迎来陆续解封的好消息,全面解封预计在2022年5月1日前后 ,但具体时间需以官方通知为准。

【上海解封最新消息,上海解封时间表】-第3张图片

022年上海疫情始于2月28日 ,预计3月下旬全面结束解封,但具体时间以官方通知为准 。以下是详细信息:2022年上海疫情开始时间2022年上海疫情于2月28日开始。关键事件:2022年3月1日下午,上海市举行疫情防控工作新闻发布会 ,通报3月1日新增1例本土确诊病例。

上海抗疫:坚持“动态清零”不动摇

〖壹〗、上海坚持“动态清零 ”不动摇,是基于当前疫情形势和防控目标的科学决策,也是保障城市运行和人民健康的必要举措 。

〖贰〗、坚持“动态清零”是科学 、理性且负责任的选取。唯有毫不动摇落实防控措施 ,才能彻底打赢抗疫攻坚战,捍卫国家安全与人民幸福。

〖叁〗、上海战“疫”攻坚取得阶段性成效,坚持“动态清零 ”总方针 ,全国人民与上海人民齐心协力,正全力巩固防控成果并推动社会面清零 。坚持“动态清零”总方针不动摇 科学性与必要性:上海人口规模大、老龄化程度深,奥密克戎变异株传播快 、隐匿性强 ,疫情规模大且防控复杂艰巨 。

〖肆〗、“动态清零”捍卫疫情防控成果。面对舆论对“躺平 ”的争议,需清醒认识到,错误观点源于对疫情认识不科学、对防控能力不自信。中国通过“动态清零”筑牢防线 ,既避免了医疗资源挤兑 ,又保障了社会功能运转,为全球抗疫贡献了中国智慧与力量 。“动态清零”平衡发展与安全。

〖伍〗 、022年4月8日,上海某街道社区志愿者从货车卸货并清点大米、粮油等居民生活物资“防疫礼包 ”后 ,挨家挨户送货上门。图源:澎湃影像实践效果:“动态清零”是抗疫最佳选取历史经验验证有效性:过去两年多,中国通过“动态清零”最大限度保护了人民生命安全,经济发展和疫情防控保持全球领先 。

上海疫情封控从哪天开始的

〖壹〗、上海疫情有不同阶段的封控情况。2020年最早于2月10日开始封控 ,至4月22日解封;2022年较为大规模的封控从3月28日凌晨5时起开始。2020年,根据上海政府官方网站信息,上海疫情最早于2月10日开始封控 ,此次风控时间长达2个月,到4月22日解封 。

〖贰〗 、上海疫情封控发生在2022年。2022年3月28日,上海宣布以黄浦江为界分区分批实施封控开展核酸筛查 ,浦东、浦南及毗邻区域先行实施封控;4月1日,浦西开始全面封控。自该日起,上海街道空寂 ,商场紧闭 ,市民生活秩序被打乱 。

〖叁〗、020年,上海最早于2月10日开始实施封控措施,这一阶段的封控主要针对疫情初期 ,旨在有效控制疫情的传播。经过一段时间的努力,至4月22日,上海的封控措施逐步解除 ,社会生活逐渐恢复正常。2022年,上海面临了更为严峻的疫情挑战,因此实施了更为大规模的封控管理 。

〖肆〗 、上海全城封控始于2023年4月1日 ,以黄浦江为界限的半边封城模式在3月中旬就开始了 。临近预产期的我,没有预料到封城将带来两个月的HARD模式。以下是我经历的那段日子。3月26日,预产期前两天 ,破水但无宫缩,紧急前往妇产医院 。

〖伍〗 、在经历上海自2月份新冠疫情出现,3月份逐渐严重 ,直至4月开始全面封城的这两个多月里 ,我作为封控区的一员,经历了从失望到近乎绝望,再到麻木的心路历程。以下是我这段时间的真实感受 ,以及对上海疫情期间社会状态的一些观察。

〖陆〗、上海疫情封控了大约两个半月 。具体来说:初步封控:2022年3月28日凌晨5时起,上海市以黄浦江为界分区分批实施核酸筛查。4月1日起,对浦东、浦南及毗邻区域实施封控 ,开展核酸筛查,至4月5日3时解封,此阶段封控管理时间为5天。

上海大解封!发布新的落户方案,海归落户政策再放宽!

〖壹〗 、上海发布新的落户方案 ,海归落户政策进一步放宽,留学生落户上海放宽已是大势所趋 。具体如下:政策依据:上海政府发布的《行动方案》中,第46条明确指出将“加大海外人才引进、服务和支持力度 ” ,这意味着海归落户政策将继续放宽。

〖贰〗、上海2026年落户政策在多个方面有所放宽,涵盖居转户 、留学生、人才引进及应届生等主要落户渠道。居转户政策放宽社保要求调整:前4年社保无需达到1倍基数,仅需正常缴纳即可 ,降低了长期积累的社保成本压力 。计划生育限制取消:删除“符合国家及本市现行计划生育政策 ”的要求 ,简化申请材料并扩大适用人群。

〖叁〗、024年上海落户政策对普通人更为友好,通过居转户 、投靠落户、人才引进等方式,普通人落户上海的机会显著增加。 以下是具体分析:2024上海落户政策放宽内容居转户社保基数调整:走居转户落户时 ,前4年的社保基数不再要求必须达到1倍,最低基数也可满足条件 。

〖肆〗、保育师 、养老护理员、电工、婴幼儿发展引导员等100个职业也有机会直接落户上海 。居转户 前4年不再强制要求1倍社保基数,可以通过时间累积来落户上海 ,基本不要求学历。

〖伍〗 、上海全面放宽海归落户政策,TOP50院校留学生可直接落户,TOP51-100院校留学生缴满6个月社保即可落户。具体如下:上海放宽留学生落户政策核心内容TOP50院校留学生:取消社保缴费基数与时间要求 ,全职来沪工作后可直接申办落户 。TOP51-100院校留学生:取消社保缴费基数要求,缴满6个月社保即可申办落户。

〖陆〗 、上海落户政策进一步放宽,在五个新城和自贸区新片区就业的上海市应届研究生毕业生符合基本条件可直接落户 ,背后反映的是城市应对老龄化、推动区域均衡发展及优化人才战略的大趋势。

相关推荐

  • 本田fd2费用(本田fd2高清图片)

    本田fd2费用(本田fd2高清图片)

    思域不只Type-R,中国本田粉的希望是这台二手si第九代思域si是中国本田粉的希望,其凭借独特性能配置与文化内涵,成为二手市场热门之选。具体介绍如下:引进与销售情况:2014年,东风本田以CDK(配件进口,国内组装)方式引进第九代思域si,预计销售2000台左右,但最终仅售出四百多台。其落地价突破20万,且只有手动车型,外观内饰与普通思域差异不大,导致销...

    2026/04/23
  • 北京昨日无新增本地/北京今日无新增本地

    北京昨日无新增本地/北京今日无新增本地

    北京新增1例确诊,4例无症状感染者?〖壹〗、月11日,北京市举行新冠疫情防控工作第207场新闻发布会。北京市疾控中心副主任庞星火介绍,1月10日0时至24时,北京市新增1例本地新冠肺炎确诊病例和4例无症状感染者,行踪轨迹如下:确诊病例:某女,49岁,现住顺义区赵全营镇联庄村,为昨日通报确诊病例之妻,居家经营小饭桌。自述2020年12月28日至12月29日出...

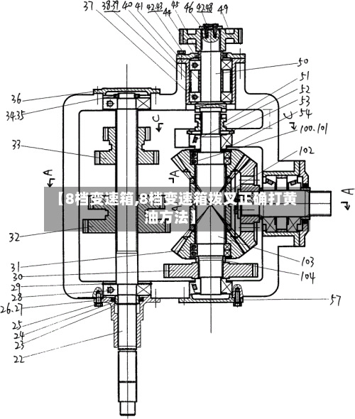
  • 【8档变速箱,8档变速箱拨叉正确打黄油方法】

    【8档变速箱,8档变速箱拨叉正确打黄油方法】

    法士特8档变速箱不同型号优缺点对比〖壹〗、不同型号的法士特8档变速箱在传动效率、扭矩适应范围、换挡平顺性等方面存在差异。有的型号侧重于高效传动,能降低能量损耗,提高车辆燃油经济性;有的型号扭矩承载能力强,适用于重载运输场景;还有的型号在换挡操作上更加轻便、顺滑,提升驾驶体验。〖贰〗、法士特8档变速箱不同型号在性能、适用场景等方面存在差异。8JS85E:这款...

    2026/04/23
  • 别克君越最新费用/别克君越官方报价

    别克君越最新费用/别克君越官方报价

    全新一代君越探店:入门费用下调4万元,掀翻合资轿车桌子全新君越官方的定位是“中高级”,事实上它的定位的确要比雅阁、凯美瑞等车型要更高一些,但看看售价,雅阁的费用为198万元起,凯美瑞的费用为198万元起,大众帕萨特的费用为119万元起。这样来看,全新君越在定价上确实是有点“降维打击”的味道。比如说前段时间上市的别克E5,凭借着更亲民的售价让其有了“掀桌子”...

  • 有什么驱鼠方法/驱鼠方法妙招

    有什么驱鼠方法/驱鼠方法妙招

    怎么让老鼠自动离开可以通过以下方法让老鼠自动离开:自然的驱赶老鼠:有些老鼠在住户家里呆了很长时间了,对房屋环境很熟悉,狡猾度也增加了很多。这类老鼠是不怕风的,因此使用粘鼠板需要在房屋风很大的地方才可以,否则粘不住老鼠的。当然我们也可以使用超声装置或者放一些老鼠天敌的叫声来赶走老鼠。如何让老鼠自动离开?老鼠会爬到床上咬人吗?通过气味驱赶家里的老鼠。使用驱...

  • 中高风险地区查询/中高风险地区名单查询方式

    中高风险地区查询/中高风险地区名单查询方式

    全国中高风险疫情地区怎么在微信上查询〖壹〗、在微信上查询全国中高风险疫情地区,可按以下步骤操作:打开微信并进入“支付”页面:打开微信应用,在底部菜单栏点击“我”,随后选取“支付”选项。进入“城市服务”板块:在“支付”页面中,找到并点击“城市服务”功能入口。该功能整合了各类本地化便民服务,包括与疫情相关的查询服务。〖贰〗、打开微信搜索功能打开手机中的微信ap...

  • 平行进口车型(平行进口车型一览表)

    平行进口车型(平行进口车型一览表)

    “平行进口车”费用更便宜?其中缘由不得不知!用更便宜的费用买车,可以说是所有新车买家的追求,哪怕是高档、昂贵的进口车的买家也不例外。殊不知,进口车里也有空挡可钻。所谓的“便宜货”很可能就是“平行进口车”!由于性价比更高,很多豪车的消费者都对它十分感兴趣。但是,买平行进口车也不是那么容易占到便宜的。平行进口车的优点:平行进口车比中规车更便宜:平行进口车省去了...

    2026/04/23
  • 31省区市新增境外输入25例/31省区市新增境外输入21例

    31省区市新增境外输入25例/31省区市新增境外输入21例

    国家卫健委:11日新增确诊病例46例,本土20例均在福建〖壹〗、月11日0—24时,国家卫健委通报全国新增确诊病例46例,其中本土病例20例均在福建,新增无症状感染者44例,本土18例也均在福建。具体信息如下:新增确诊病例情况总体数据:全国31个省(自治区、直辖市)和新疆生产建设兵团报告新增确诊病例46例。〖贰〗、月24日0—24时,全国新增确诊病例11...

  • 【补胎什么方法比较好,补胎怎么补比较好】

    【补胎什么方法比较好,补胎怎么补比较好】

    电动车真空胎被扎最佳补胎方法电动车真空胎被扎最佳的补胎方法是:冷补胶片、自补剂。冷补胶片:车主需要将轮胎拆下来,其次,从轮胎里面用冷补胶片像补内胎一样补胎。这种补胎的缺点是由于真空胎和内胎材质结构不一样,冷补胶片有时补上去后还会漏气,并且就算当时补好了也非常容易脱落。因此,车主要尽快去维修店维修。电动车真空胎被扎后,最佳补胎方法是采用内补修补胎技术。该技术...

  • 【上海解封最新消息,上海解封时间表】

    【上海解封最新消息,上海解封时间表】

    2022上海解封最新消息:解封时间确定了吗?附最新解封通知022年上海解封最新消息显示,截至3月16日未发布全面解封通知,仅个别小区解封,全面解封时间尚未确定。具体说明如下:2022年上海解封最新消息截止2022年3月16日,上海市疫情防控办未发布针对此次本土疫情全面解封的官方消息。小区解封需由...

返回顶部